Systemy i instalacje przeciwpożarowe stanowią kluczowy element strategii bezpieczeństwa w różnego rodzaju obiektach, od budynków mieszkalnych po hale przemysłowe. Ich podstawową funkcją jest ochrona życia, zdrowia i mienia poprzez szybkie wykrywanie pożaru, alarmowanie osób znajdujących się w budynku oraz ograniczanie rozprzestrzeniania się ognia. Profesjonalne podejście do projektowania instalacji przeciwpożarowych przekłada się również na wymierne korzyści ekonomiczne. Skuteczny system minimalizuje straty finansowe związane z pożarami, ogranicza ryzyko przerw w działalności firmy i obniża koszty ubezpieczeń, podnosząc tym samym poziom bezpieczeństwa wszystkich użytkowników obiektu.
Prawidłowo zaprojektowane i utrzymane systemy przeciwpożarowe stanowią inwestycję, a nie tylko obowiązek prawny, zapobiegając katastrofalnym stratom. Firma NATONE oferuje kompleksowe usługi w zakresie projektowania, montażu i utrzymania instalacji przeciwpożarowych. Zgodnie z polskim prawem, instalacje te są obowiązkowe w wielu typach obiektów, szczególnie tam, gdzie gromadzi się duża liczba osób lub przechowywane są materiały łatwopalne. Wymogi dotyczące ich projektowania, wykonania i konserwacji są ściśle określone.
Każda instalacja PPOŻ musi przejść badania i odbiory techniczne potwierdzające jej prawidłowe działanie. Właściciele i zarządcy obiektów mają obowiązek przeprowadzania regularnych przeglądów, obejmujących między innymi instalacje elektryczne, gazowe, grzewcze oraz elementy konstrukcyjne budynku.
Rodzaje i komponenty systemów przeciwpożarowych
Nowoczesne systemy przeciwpożarowe dzielą się na aktywne i bierne. Aktywne instalacje przeciwpożarowe obejmują systemy gaśnicze, systemy sygnalizacji pożaru (SSP), czujniki dymu oraz systemy detekcji gazów. Systemy bierne to z kolei elementy konstrukcyjne i rozwiązania budowlane, takie jak przegrody ogniowe, drzwi przeciwpożarowe czy systemy oddymiania.
Nowoczesne instalacje przeciwpożarowe składają się z wielu współpracujących ze sobą elementów, które zapewniają kompleksową ochronę budynku. Podstawą są systemy sygnalizacji pożaru, które wykrywają dym, ogień lub podwyższoną temperaturę i natychmiast uruchamiają alarmy dźwiękowe i optyczne. W zależności od konfiguracji system może także automatycznie aktywować inne urządzenia.
Systemy gaśnicze obejmują instalacje tryskaczowe (mokre i suche), instalacje zraszaczowe oraz hydranty wewnętrzne. Działają one automatycznie lub manualnie, gasząc pożar już w jego początkowej fazie i ograniczając jego rozprzestrzenianie się. Uzupełnieniem instalacji są systemy detekcji gazów oraz centrale pożarowe, które zarządzają całym układem i sterują wentylacją, klapami dymowymi czy drzwiami przeciwpożarowymi.
Inwestycja w systemy przeciwpożarowe to realna ochrona życia i mienia, ponieważ instalacje te reagują błyskawicznie na zagrożenie, wykrywając pożar, lokalizując jego źródło i - jeśli to możliwe - automatycznie go gasząc. W przypadku zainteresowania wykonaniem instalacji przeciwpożarowej, zachęca się do kontaktu w celu omówienia projektu i wdrożenia systemu PPOŻ dopasowanego do indywidualnych potrzeb obiektu.

Konserwacja i przeglądy instalacji przeciwpożarowych
Systemy przeciwpożarowe wymagają regularnych przeglądów i konserwacji, aby zapewnić ich niezawodne działanie. Zakres prac konserwacyjnych zależy od typu instalacji oraz norm, zgodnie z którymi została wykonana.
Przeglądy instalacji tryskaczowych
Instalacje tryskaczowe podlegają przeglądom wieloletnim. Istotne zmiany w zakresie prac konserwacyjnych dotyczą inspekcji przeprowadzanych co 3 i 5 lat.
- Próba instalacji suchej: Instalacja sucha powinna zostać poddana próbie mokrej z użyciem tryskacza testowego.
- Kontrola stanowisk ZKA: Wszystkie stanowiska Zespołów Kontrolno-Alarmowych (ZKA) powinny zostać otwarte i poddane kontroli.
- Kontrola zbiornika wody: Wnętrze zbiornika wody na cele przeciwpożarowe powinno zostać poddane kontroli. Sprawdzenia można dokonać z pomocą nurka i kamery podwodnej lub poprzez opróżnienie zbiornika i wprowadzenie do jego wnętrza serwisantów.
- Badanie wnętrza przewodów: Należy przeprowadzić badanie wnętrza przewodów na zarastanie.
- Badanie próbek tryskaczy: Określona grupa tryskaczy każdego typu zainstalowanego na obiekcie powinna zostać wysłana do badania w certyfikowanym ośrodku badawczym.
W przypadku ujawnienia wad technicznych, właściciel obiektu jest zobowiązany do usunięcia usterek. Jednostka certyfikująca ma prawo nakazać wymianę wszystkich lub części tryskaczy na obiekcie.
Znaczenie przełączników ciśnieniowych
Przełączniki ciśnieniowe nadzorują poziom ciśnienia w systemach wodnych i przekazują sygnałem elektrycznym odchylenia od ustalonych wartości do systemu sygnalizacji pożarowej lub bezpośrednio do jednostki straży pożarnej. Niezawodność ich działania, zwłaszcza przełączników alarmowych, ma kluczowe znaczenie. W przypadku częstego przesyłania sygnałów o zakłóceniach, mimo prawidłowych ustawień, zaleca się ich wymianę.
Konserwacja zaworów
Automatyczny zawór odwadniający, zwany również spustowym, służy do opróżniania alarmowych przewodów wodnych po aktywacji stacji zaworów alarmowych. Jest to mechanicznie uruchamiany zawór sprężynowy z otworem drenażowym.
Z powodu jakości wody, zalegającej korozji lub kamienia w rurach, zawór po latach użytkowania może nie odprowadzać wody poprawnie, co może prowadzić do niezamierzonego wywołania alarmu. Aby utrzymać najwyższy poziom bezpieczeństwa, zaleca się wymianę zaworów po okresie 3 lat.
Zawory bezpieczeństwa wyrównują nadciśnienie w zamkniętym systemie instalacji, zapobiegając jego uszkodzeniu. W systemie ochrony przeciwpożarowej znajdują się one w ciągach doprowadzających do hermetycznych podciśnieniowych zbiorników wodnych oraz w systemach powietrznych. Aby zapewnić bezpieczeństwo, zaleca się regularną wymianę zaworów bezpieczeństwa po okresie 5 lat.
Wymiana tryskaczy
Stare tryskacze powinny być wymienione na nowe nie później niż po 50 latach, szczególnie w miejscach pracy, gdzie nie można być pewnym ich skuteczności. Dotyczy to sytuacji, gdy system tryskaczy został znacznie przebudowany lub jego zastosowanie uległo znaczącej zmianie, co może skutkować niespełnianiem norm ochrony przeciwpożarowej.
Instalacje tryskaczowe z czynnikami mrozoodpornymi
Instalacje tryskaczowe napełnione środkiem mrozoodpornym są narażone na zwiększone ryzyko uszkodzenia. W takich instalacjach przeprowadzane są kontrole w specjalnie określonych przez VdS odstępach czasu.
Czas napełniania suchej instalacji rurociągu
Aby szybko zwalczyć rozwijający się pożar, sucha instalacja rurociągu musi uruchomić się bez zwłoki. Powietrze w systemie rur pod ciśnieniem musi zostać wydmuchane, a następnie sieć rur zalana wodą. Czas napełnienia, w zależności od ciśnienia wody, nie powinien przekroczyć maksymalnie 60 względnie 90 sekund. Czas ten liczy się od otwarcia stacji alarmowej suchej instalacji do wycieku wody z przewodu testowego na końcu systemu rur. Po każdym pomiarze czasu napełnienia, system rur należy porządnie opróżnić z wody.

Stacja mokrego zaworu alarmowego
Stacja mokrego zaworu alarmowego, produkowana przez SANJING FIRE, jest niezbędnym elementem każdego systemu przeciwpożarowego. Zapewnia niezawodne i skuteczne kontrolowanie i wykrywanie pożarów, chroniąc ludzi i mienie. Pomaga zapobiegać niszczycielskim pożarom poprzez uruchomienie systemu zaopatrzenia w wodę i aktywację alarmu w przypadku wybuchu ognia. Jest to kluczowa inwestycja dla każdego obiektu dbającego o najwyższy poziom bezpieczeństwa pożarowego. Łatwość instalacji i konserwacji sprawiają, że posiadanie stacji mokrych zaworów alarmowych jest uzasadnione.
Jako profesjonalny producent sprzętu przeciwpożarowego, SANJING FIRE oferuje termin dostawy FOB Xiamen, z możliwością akceptacji warunków EXW, CFR, CIF, DDP, DDU. Firma zapewnia dogodne i efektywne rozwiązania transportowe.
Zawory przeciwpożarowe forede Deluge
Zawory przeciwpożarowe forede Deluge to podstawowe elementy systemów przeciwpożarowych typu otwartego. Posiadają trwały metalowy korpus, sprężynową klapę i pilotowy mechanizm sterujący. Działając w suchych rurociągach z otwartymi głowicami tryskaczowymi, aktywują się szybko na podstawie sygnałów wykrycia pożaru, zapewniając zrzut wody na całym obszarze w celu stłumienia szybko rozprzestrzeniającego się pożaru.
Kluczowe zalety zaworów Deluge
- Szybkie tłumienie: Natychmiastowy, obszarowy zrzut wody w celu szybkiego powstrzymania pożaru.
- Wszechstronne powiązanie detekcyjne: Możliwość dostosowania do trudnych warunków.
- Podwójne tryby aktywacji: Zwiększone bezpieczeństwo dzięki możliwości ręcznego uruchomienia w przypadku awarii systemu detekcji.
- Łatwa konserwacja: Konstrukcja modułowa ułatwia demontaż i wymianę kluczowych elementów.

Mechanizm działania
Mechanizm działania zaworów Deluge obejmuje:
- Tryb gotowości: Uszczelniona klapa ciśnieniowa utrzymuje zawór w pozycji zamkniętej dzięki sile sprężyny i ciśnieniu pilota. Rurociąg pozostaje suchy i pozbawiony ciśnienia.
- Tryb aktywacji: Sygnał z systemu wykrywania pożaru uruchamia mechanizm pilota, który zwalnia ciśnienie pilotowe. Wysokie ciśnienie wody otwiera klapę, umożliwiając przepływ wody do rurociągu.
- Tryb opróżniania: Woda jest wypuszczana ze wszystkich otwartych głowic zraszaczy na chronionym obszarze, jednocześnie uruchamiając alarm dźwiękowy lub elektroniczny.
Zawory Deluge wykonane są z wytrzymałej staliwa lub stali nierdzewnej 316, z wewnętrzną powłoką antykorozyjną, co zapewnia odporność na trudne warunki środowiskowe.
Obszary zastosowań
Zawory przeciwpożarowe forede Deluge znajdują szerokie zastosowanie w:
- Obiektach petrochemicznych i naftowo-gazowych: Rafinerie, zakłady chemiczne, magazyny paliw, terminale rurociągów.
- Wysokiego ryzyka zakładach przemysłowych: Elektrownie, tunele kablowe, pomieszczenia ze sprzętem elektrycznym, zakłady produkujące materiały łatwopalne.
- Magazynach niebezpiecznych i centrach logistycznych: Magazyny chemikaliów, aerozoli, fajerwerków, towarów palnych o wysokiej wartości.
- Infrastrukturze publicznej i węzłach komunikacyjnych: Lotniska, stacje kolejowe, stacje metra.
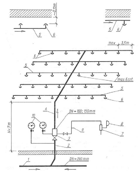
Instalacje zraszaczowe
Instalacje zraszaczowe są systemami ochrony przeciwpożarowej zaprojektowanymi do szybkiego i skutecznego gaszenia pożarów. Składają się z sieci rur, zaworów i otwartych dysz zraszaczowych, stanowiąc skuteczne narzędzie zapewniające szybką reakcję na zagrożenie pożarem i minimalizację szkód materialnych i ludzkich.
Zalety instalacji zraszaczowych
- Szybkie działanie i skuteczność: Minimalizują szkody spowodowane przez pożar.
- Wysoka elastyczność: Zarówno pod względem projektowania, jak i samej instalacji.
- Zmniejszenie emisji: Przyczyniają się do zmniejszenia emisji oparów i innych zanieczyszczeń powstających podczas procesu spalania.
- Szybkie przywrócenie gotowości: Po akcji gaśniczej system można szybko przywrócić do stanu gotowości.

Zasada działania
Wszystkie strefy chronionego obiektu są wyposażone w system orurowania z otwartymi dyszami gaśniczymi. System podzielony jest na sekcje gaszenia, które uruchamiają się w momencie wykrycia pożaru. Instalacja zraszaczowa jest wyposażona w elementy systemu wykrywania pożaru, które mogą wyzwalać instalację elektronicznie, pneumatycznie lub hydraulicznie. W momencie wykrycia zagrożenia przez system detekcji pożaru następuje uruchomienie systemu zraszaczowego. Otwierane są właściwe dla danej sekcji zawory kontrolno-alarmowe i następuje uwolnienie wody pod ciśnieniem ze wszystkich dysz zraszaczowych znajdujących się w sekcji, w której wybuchł pożar.
Instalacje zraszaczowe Minimax ze sterowaniem elektronicznym mogą być opcjonalnie zatrzymane ręcznie za pomocą zdalnego sterowania, co umożliwia natychmiastowe zamknięcie dopływu wody po ugaszeniu pożaru. Projektowanie i montaż zraszaczy Minimax są prowadzone z uwzględnieniem wszelkich przepisów oraz norm budowlanych i przeciwpożarowych.
Specjalistyczne zastosowania
Systemy zraszaczowe są preferowanym rozwiązaniem do ochrony obiektów wymagających prewencyjnego chłodzenia lub szybkiego ugaszenia pożaru.
- Generatory prądu: Systemy mgły wodnej Minifog ProCon są idealne do lokalnego zabezpieczenia generatorów prądu.
- Obrabiarki: Systemy gaszenia dwutlenkiem węgla lub systemy mgłą wodną Minifog ProCon XP nadają się do ochrony obszarów obróbki na mokro i sucho.
- Agregaty hydrauliczne: Systemy mgły wodnej Minifog ProCon zapewniają niezawodną ochronę przeciwpożarową hydraulicznych jednostek napędowych.
- Stanowiska testowe w zakładach motoryzacyjnych: Systemy gaszenia dwutlenkiem węgla lub mgłą wodną Minifog ProCon XP chronią stanowiska testowe silników i stanowiska symulacyjne.
- Transformatory: Rozwiązanie TrafoProtect, wykorzystujące specjalne dysze Viking Model A i Model C-1, zapewnia ciągłe i równomierne rozprowadzanie wody, kontrolę i tłumienie ognia przy zredukowanym zużyciu wody.
- Turbiny gazowe: Systemy gaśnicze CO2 lub wysokociśnieniowe systemy mgły wodnej Minifog ProCon XP zapewniają szybkie, wolne od zanieczyszczeń gaszenie, nawet w trudno dostępnych miejscach, przy minimalnym zużyciu wody.
Jak działa linia energetyczna 400 kV? ANIMACJA
tags: #stacja #zaworow #uruchamianych #przez #alarm #pozarowy