Wyniki pożarów mogą obejmować poważne szkody materialne, jednakże straty te nie są niczym w porównaniu z potencjalnymi konsekwencjami dla życia i zdrowia ludzi. Inwestując w systemy przeciwpożarowe dla swojej firmy, troszczysz się nie tylko o mienie materialne, ale przede wszystkim o bezpieczeństwo pracowników. Pożar generuje również toksyczne gazy, które mogą zaburzać widoczność i wpływać na zdolność do poruszania się. Nawet na początkowym etapie, zanim ogień się rozprzestrzeni, dym może ograniczyć widoczność, a toksyczne gazy mogą być śmiertelne.
Co to są instalacje przeciwpożarowe?
Instalacje przeciwpożarowe to kompleksowe systemy, których celem jest szybkie wykrycie oraz ograniczenie skutków pożaru w obiekcie. Ich główną funkcją jest minimalizowanie rozprzestrzeniania się ognia oraz zabezpieczenie osób i mienia. Te systemy są projektowane indywidualnie, uwzględniając specyfikę danego budynku. Stanowią one nieodłączny element zapewnienia bezpieczeństwa, dbając zarówno o życie, jak i zdrowie osób przebywających w danym miejscu. Ich zadaniem jest nie tylko wykrycie pożaru, lecz także jego gaszenie oraz eliminacja toksycznego dymu z wnętrza budynku.
Ochrona przeciwpożarowa - podstawowe typy i działania
Niebezpieczeństwo związane z niekontrolowanym ogniem jest realne i nie powinno być lekceważone. W krótkim czasie ogień może całkowicie ogarnąć budynek, stanowiąc poważne zagrożenie dla życia i zdrowia. Dlatego nie można ignorować środków zabezpieczających, które mają na celu ochronę przed pożarami. Wykorzystanie różnych systemów przeciwpożarowych pozwala zapobiec lub przynajmniej ograniczyć ryzyko związane z pożarami.

Typy systemów przeciwpożarowych
Aby zrozumieć istotę systemów przeciwpożarowych, należy spojrzeć na nie szerzej niż tylko jako na zbiór elementów. Systemy te składają się z różnych komponentów, które wspólnie mają na celu zapobieganie pożarom lub ich rozprzestrzenianiu się. Każdy detal ma znaczenie w ich skuteczności. Do systemów przeciwpożarowych zalicza się zarówno aktywne, jak i bierne systemy. Wśród nich wyróżnia się:
- Systemy Sygnalizacji Pożaru (SSP, SAP): służące do szybkiego wykrywania i sygnalizowania pożarów.
- Dźwiękowe Systemy Ostrzegawcze (DSO): emitujące sygnały ostrzegawcze lub komunikaty głosowe.
- Systemy oddymiania: mające na celu usuwanie dymu z budynków w przypadku pożaru.
- Systemy detekcji gazów toksycznych i wybuchowych: monitorujące stężenia niebezpiecznych gazów.
Funkcje systemów przeciwpożarowych
Systemy przeciwpożarowe pełnią wiele funkcji, z których najważniejszą jest ochrona życia ludzkiego i mienia. Ich działanie opiera się na szybkim wykrywaniu pożarów, informowaniu o nich oraz zapobieganiu ich rozprzestrzenianiu się. Podstawowe funkcje tych systemów to:
- Funkcja wykrywcza: szybkie rozpoznawanie pożarów i toksycznych gazów.
- Funkcja informacyjna: przekazywanie sygnałów o pożarze, zarówno automatycznie, jak i na żądanie.
- Funkcja alarmowa: emitowanie sygnałów ostrzegawczych w razie pożaru.
- Funkcja oddymiania: usuwanie dymu z budynków, zapewniając bezpieczną ewakuację.
Działanie tych funkcji ma kluczowe znaczenie dla zapewnienia bezpieczeństwa ludzi i mienia w przypadku pożaru. Tylko odpowiednio zaprojektowane i zainstalowane systemy przeciwpożarowe mogą skutecznie spełniać swoje zadania.
Projekt systemu sygnalizacji pożarowej
Projekt systemu sygnalizacji pożarowej to kompleksowy dokument zawierający kluczowe elementy i omawiający następujące aspekty:
- Podstawa opracowania;
- Przedmiot opracowania;
- Zakres opracowania;
- Charakterystyka obiektu, oparta na danych takich jak: projekt budowlany, instrukcja bezpieczeństwa pożarowego, warunki ochrony przeciwpożarowej;
- Opis systemu sygnalizacji pożarowej;
- Rozmieszczenie elementów SSP, uwzględniające strefy dozorowe;
- Opis działania systemu;
- Obliczenia wykonane dla konkretnego obiektu;
- Opis prac montażowych, zawierający informacje o poszczególnych elementach i instalacji kablowej;
- Zestawienie materiałów, w tym modele urządzeń spełniające wymagania projektu;
- Zalecenia dotyczące obsługi i konserwacji systemu;
- Informacje dotyczące szkoleń z obsługi systemu;
- Rysunki.
Projekt systemu sygnalizacji pożarowej stanowi nie tylko podstawę do sporządzenia kosztorysu i określenia ceny instalacji przeciwpożarowej, ale także jest dokumentem, który będzie wykorzystywany podczas montażu poszczególnych elementów oraz programowania systemu. Pełni również funkcję przewodnika dla osób odpowiedzialnych za obsługę i konserwację systemu.

Kto odpowiada za realizację obowiązków z zakresu ochrony przeciwpożarowej?
Na podstawie Ustawy o ochronie przeciwpożarowej odpowiedzialność za realizację obowiązków z zakresu ochrony przeciwpożarowej stosownie do obowiązków i zadań powierzonych w odniesieniu do budynku, obiektu budowlanego lub terenu, przejmuje - w całości lub w części - ich zarządca lub użytkownik, na podstawie zawartej umowy cywilnoprawnej ustanawiającej zarząd lub użytkowanie. W przypadku gdy umowa taka nie została zawarta, odpowiedzialność za realizację obowiązków z zakresu ochrony przeciwpożarowej spoczywa na faktycznie władającym budynkiem, obiektem budowlanym lub terenem.
Kto może zatwierdzić urządzenia przeciwpożarowe?
Zgodnie z § 3 ust. 1 Rozporządzenia Ministra Spraw Wewnętrznych i Administracji z dnia 7 czerwca 2010 r. w sprawie ochrony przeciwpożarowej budynków, innych obiektów budowlanych i terenów urządzenia przeciwpożarowe w obiekcie powinny być wykonane zgodnie z projektem uzgodnionym przez rzeczoznawcę ds. zabezpieczeń przeciwpożarowych, a warunkiem dopuszczenia do ich stosowania jest przeprowadzenie odpowiednich dla danego urządzenia prób i badań potwierdzających prawidłowość ich działania. Zgodnie z art. 4. Ust. 2 Ustawy z dnia 24 sierpnia 1991 r. o ochronie przeciwpożarowej wszystkie czynności z zakresu ochrony ppoż., w tym opracowanie i wykonanie projektów urządzeń przeciwpożarowych, mogą wykonywać wyłącznie osoby posiadające odpowiednie kwalifikacje. Ponadto art. 4 ust. 2a: osoby wykonujące czynności z zakresu ochrony przeciwpożarowej, polegające na zapobieganiu powstawaniu i rozprzestrzenianiu się pożaru, niezatrudnione w jednostkach ochrony przeciwpożarowej, są obowiązane posiadać tytuł zawodowy inżynier pożarnictwa, magister inżynier pożarnictwa albo tytuł zawodowy inżynier i dyplom ukończenia w Szkole Głównej Służby Pożarniczej studiów w zakresie inżynierii bezpieczeństwa w specjalności inżynieria bezpieczeństwa pożarowego wydany do dnia 30 września 2019 r. lub studiów na kierunku inżynieria bezpieczeństwa w zakresie inżynieria bezpieczeństwa pożarowego wydany po dniu 30 września 2019 r. lub dyplom ukończenia w Akademii Pożarniczej studiów na kierunku inżynieria bezpieczeństwa w zakresie inżynieria bezpieczeństwa pożarowego.
Projektowanie systemów przeciwpożarowych w praktyce
Bezpieczeństwo w budynkach to kwestia fundamentalna, która wiąże się nie tylko z przestrzeganiem prawa, ale przede wszystkim z moralnym obowiązkiem dbania o życie i mienie ludzi. Współczesna technologia dostarcza nam skuteczne narzędzia do zapobiegania pożarom i minimalizowania ich skutków, a projektowanie systemów przeciwpożarowych jest kluczowym aspektem tego procesu. Projektowanie systemów przeciwpożarowych jest procesem niezwykle złożonym i zależy od wielu czynników. Każdy budynek ma swoje unikalne cechy, takie jak układ pomieszczeń, rodzaj działalności prowadzonej w jego wnętrzu, oraz ewentualne zagrożenia specyficzne dla danego miejsca. Dlatego ważne jest, aby system przeciwpożarowy był starannie dostosowany do konkretnej nieruchomości.
Systemy sygnalizacji pożaru (SSP)
Systemy sygnalizacji pożaru to znacznie więcej niż tylko dzwonek alarmowy informujący o wybuchu ognia. Obejmuje on różnego rodzaju czujniki, które monitorują obecność dymu lub wzrost temperatury. To one pełnią rolę oczu i nosa systemu, stale przeszukując otoczenie. W momencie wykrycia niepokojących sygnałów, system sygnalizacji uruchamia procedury powiadamiania służb ratowniczych i ludzi przebywających w obiekcie.
Systemy oddymiania
Dym jest jednym z najbardziej niebezpiecznych składników pożaru, utrudniając ewakuację oraz stanowiąc zagrożenie dla zdrowia ze względu na toksyczne spaliny. Systemy oddymiania składają się z różnych elementów, takich jak klapy oddymiające i specjalne kurtyny dymowe. Gdy system wykryje dym, inicjuje procedury usuwania go na zewnątrz budynku.
Instalacje gaśnicze
Instalacje gaśnicze to jedne z głównych komponentów systemów przeciwpożarowych. W przypadku wybuchu ognia, te systemy pozwalają na natychmiastowe dostarczenie środka gaśniczego do źródła pożaru. Wybór konkretnej substancji gaśniczej, takiej jak woda, proszek czy gaz, zależy od rodzaju budynku i zidentyfikowanych zagrożeń.
Jak używać gaśnicy
Projektowanie systemów przeciwpożarowych to proces spersonalizowany, a każdy projekt ma swoje unikalne wyzwania i rozwiązania. Wyważenie różnych czynników, takich jak rodzaj działalności w budynku, ewentualne obciążenia ludzkie, czy specyfika struktury budynku, jest kluczowe. Projektant musi uwzględnić te czynniki, aby stworzyć efektywny i bezpieczny system. Jednak projektowanie systemu przeciwpożarowego to nie tylko wybór odpowiednich komponentów. Inwestycja w projektowanie systemów przeciwpożarowych to nie tylko kwestia kosztów, to inwestycja w bezpieczeństwo ludzi i mienia. Bezpieczne budynki stanowią fundament naszego społeczeństwa, dlatego też projektowanie systemów przeciwpożarowych jest tak istotnym elementem planowania każdej nieruchomości.
Systemy przeciwpożarowe w domach jednorodzinnych
Nieokiełznany ogień jest jedną z najgorszych przyczyn utraty mienia. Powoduje nieodwracalne straty zagrażając przy tym zdrowiu i życiu domowników. Nie tylko otwarty ogień bywa zabójczy, ale i tlenek węgla, nazywany czadem, przyczynia się do śmierci wielu osób. Mimo, że nie ma wymogów dotyczących zabezpieczenia domu w instalację przeciwpożarową, możemy sami zadbać o własne bezpieczeństwo i wyposażyć się w podstawowe urządzenia zapobiegające powstawaniu pożaru, jak i sygnalizujące możliwość jego wystąpienia.
Podstawowe wyposażenie domu w system przeciwpożarowy
Przede wszystkim należy wyeliminować wszelkie błędy w użytkowaniu domowych instalacji grzewczych. Jedną z najczęstszych przyczyn pożarów są właśnie zaniedbania w obsłudze pieców i kominków. Możemy wyposażyć dom w system przeciwpożarowy z detektorami dymu, pożaru i czadu, gaśnice, drzwi przeciwpożarowe do kotłowni oraz odpowiednie zabezpieczenie izolacją przeciwpożarową kominów. Pomocne mogą okazać się koce gaśnicze.
Czujniki dymu i czadu
Częścią systemu przeciwpożarowego w domu może być odpowiednio umieszczony czujnik dymu i czujnik czadu. Wcześnie ostrzegą nas nie tylko o otwartym ogniu w domu, ale szczególnie niebezpiecznym tlenku węgla, który ze względu na swe właściwości, bywa niezauważony. Detektory dymu mogą być termiczne oraz optyczne. Termiczne uruchamiają alarm w momencie podwyższenia temperatury w pomieszczeniu albo powyżej założonego progu, albo w wyniku gwałtownego jej skoku. Czujki optyczne reagują na pojawiający się dym. Najskuteczniejsze są detektory multisensorowe z możliwością wykrycia czadu i tlenku azotu. Tuż za nimi uplasują się jonizacyjne wykrywające wszelkie gazy, które mogą powstać w wyniku spalania.
Gaśnice
W przypadku konieczności gaszenia powstałego zarzewia ognia doskonale się sprawdzi poręczna gaśnica. Jest to urządzenie łatwe w obsłudze, wymagające jednak okresowych kontroli, które można wykonać w najbliższej jednostce Państwowej Straży Pożarnej. Posiadanie niesprawnej gaśnicy jest jeszcze gorszym rozwiązaniem niż jej całkowity brak, ponieważ daje nam złudne poczucie bezpieczeństwa, a w chwili najwyższej konieczności nas po prostu zwiedzie. Warto więc przestrzegać terminów kontroli i zwracać uwagę na podany okres gwarancyjny gaśnic.
Drzwi przeciwpożarowe
Bardzo dobrym rozwiązaniem, chociaż jeszcze nieczęsto spotykanym, są drzwi ogniotrwałe. W domu jednorodzinnym są w zasadzie dwa miejsca, w których warto je zamontować. Jest to na pewno kotłownia, często ze zgromadzonymi tam materiałami łatwopalnymi oraz przejście między garażem a pozostałą częścią budynku. Takie drzwi nie tylko, że są odporne na powstały już pożar, ale też, dzięki swej podwyższonej szczelności, zapobiegają rozprzestrzenianiu się dymu na dom. Drzwi z nawet minimalną odpornością na ogień w klasie EI 30, czyli 30-minutowym zachowaniem wytrzymałości na działanie płomieni i szczelności, dają dużo czasu domownikom na przeprowadzenie ewakuacji z objętego pożarem budynku.
Unormowania prawne dotyczące domów jednorodzinnych
Unormowania prawne dotyczące domów jednorodzinnych są znacznie mniej restrykcyjne niż np. te, dla miejsc użyteczności publicznej. Pierwszym ograniczeniem, z jakim się spotkamy, jest posadowienie budynku na działce. Zależy ono od materiałów, z jakich będzie zbudowany dom oraz istniejących już budynków w sąsiedztwie. Zachować należy odpowiednie odstępy, jak czterometrowy w przypadku domu murowanego z oknami skierowanymi na niezabudowaną działkę, co powoduje, że dwa domy murowane, na sąsiednich działkach, a zwrócone oknami do siebie nie mogą być bliżej niż 8 metrów od siebie. W przypadku budynków drewnianych dystans ten zwiększa się do 12 metrów. W sytuacji, kiedy nasze cztery ściany powstaną w pobliżu lasu, nie możemy się do niego zbliżyć bardziej niż na 12 metrów. Ochrona pożarowa objęta jest przepisami także w zakresie składowania opału na działce, drewna przy kominku czy żarówek usytuowanych w pobliżu materiałów łatwopalnych. Obowiązuje również odpowiednia szerokość schodów, która nie może być mniejsza niż 80 cm.
Każdy projekt już na etapie powstawania musi być zgodny z obowiązującymi przepisami przeciwpożarowymi. Oprócz tego każdy właściciel domu jednorodzinnego jest zobowiązany do okresowego sprawdzania wszystkich instalacji sanitarnych (w tym m.in. gazowej, grzewczej, chłodniczej, wentylacyjnej oraz klimatyzacyjnej). Warto o tym pamiętać i chociaż raz w roku zaprosić kominiarza do domu na inspekcję. Koszt wizyty niewielki, a potwierdzenie bezpieczeństwa systemu kominowo-wentylacyjnego - bezcenne.
Podsumowanie i kluczowe aspekty projektowania systemów przeciwpożarowych
Oczywiste jest, że pożary przynoszą ze sobą ogromne straty materialne, jednak najważniejsze jest to, że niosą one potencjalne zagrożenie dla życia i zdrowia ludzi. Wartość inwestycji w systemy przeciwpożarowe dla firm nie może być przeceniana, ponieważ te systemy nie tylko chronią mienie materialne, ale przede wszystkim dbają o bezpieczeństwo pracowników. Pożary generują toksyczne gazy, które mogą zakłócać widoczność i ograniczać zdolność do poruszania się. Nawet na wczesnym etapie, kiedy ogień dopiero się rozpoczyna, dym może stanowić zagrożenie dla zdrowia, a toksyczne gazy mogą być nawet śmiertelne. Instalacje przeciwpożarowe są kompleksowymi systemami, których celem jest szybkie wykrycie i ograniczenie skutków pożaru w obiekcie. Projektowane indywidualnie, uwzględniają specyfikę danego budynku, stanowią nieodłączny element zapewnienia bezpieczeństwa, dbając zarówno o życie, jak i zdrowie osób przebywających w danym miejscu. Ich zadaniem nie jest tylko wykrycie pożaru, lecz także jego gaszenie oraz eliminacja toksycznego dymu z wnętrza budynku.
Odpowiedzialność za realizację obowiązków z zakresu ochrony przeciwpożarowej spoczywa na zarządcy lub użytkowniku budynku, obiektu budowlanego lub terenu, na podstawie zawartej umowy cywilnoprawnej ustanawiającej zarząd lub użytkowanie. W przypadku braku takiej umowy, odpowiedzialność ta spada na faktycznie władającego budynkiem, obiektem budowlanym lub terenem. Zatwierdzenie urządzeń przeciwpożarowych odbywa się na podstawie projektu uzgodnionego przez rzeczoznawcę ds. zabezpieczeń przeciwpożarowych oraz po przeprowadzeniu odpowiednich prób i badań potwierdzających prawidłowość ich działania. Wszelkie czynności związane z ochroną przeciwpożarową, w tym projektowanie i wykonanie instalacji przeciwpożarowych, mogą być wykonywane tylko przez osoby posiadające odpowiednie kwalifikacje. Osoby wykonujące te czynności muszą posiadać odpowiedni tytuł zawodowy lub dyplom potwierdzający ich kwalifikacje.
Projektowanie instalacji przeciwpożarowych jest procesem, który powinien odbywać się równocześnie z projektowaniem budynku. Powinien on uwzględniać dobór odpowiedniego urządzenia, które będzie sygnalizowało powstawanie pożaru względem wszystkich pomieszczeń. Wybór sygnalizatora przeciwpożarowego zależy od wielu czynników, między innymi od środowiska, w jakim będzie miał on pracować. Sygnalizatory w instalacjach przeciwpożarowych dzieli się na te stosowane wewnątrz budynku oraz na zewnątrz. Różnica między nimi polega głównie na zakresie temperatur, w jakich się uruchamiają oraz obudowy, która gwarantuje odporność na czynniki szkodliwe. Kolejnym podziałem jest sposób sygnalizowania zagrożenia w postaci pożaru. Wyróżnić można sygnalizatory głosowe, optyczne, akustyczne oraz ich kombinacje.
Wybór i rozmieszczenie sygnalizatorów
Sygnalizatory w instalacji przeciwpożarowej, aby były dopuszczone do użytkowania, muszą posiadać stosowne certyfikaty zgodności i świadectwa. Ostatni dokument określa, jakie ustawienia są dopuszczone do stosowania w instalacjach ppoż. Sygnalizacja optyczna nie powinna być stosowana samodzielnie, a stanowić dopełnienie rozwiązania akustycznego. Obecnie nie ma żadnych przepisów oraz zaleceń, które mówią o tym, jak montować urządzenia optyczne. Modele te powinny znaleźć się wszędzie tam, gdzie sygnalizator akustyczny niekoniecznie będzie wystarczający. Jako przykład można tutaj podać przedsiębiorstwa przemysłowe, w których pracownicy są zobowiązani do noszenia ochronników słuchu. Sygnalizatory tego typu stosuje się w pomieszczeniach, gdzie wymagana jest znacznie większa skuteczność ostrzegania przed zagrożeniem. Mowa tutaj o miejscach, w których przebywają osoby nieprzeszkolone, a także, w których występują sygnały tonowe.
Sygnalizacja akustyczna ma za zadanie zwrócić uwagę osób przebywających w miejscu zagrożenia na wystąpienie potencjalnego pożaru. Jest to podstawowy rodzaj sygnalizatora, który stosowany jest praktycznie wszędzie. W jego przypadku bardzo duże znaczenie odgrywa poziom natężenia dźwięku, który powinien być dostosowany do warunków panujących w obiekcie. Sygnalizatory w instalacjach przeciwpożarowych muszą być konstruowane według normy prawnej oraz rozporządzenia MSWiA. W przypadku modeli głosowych i akustycznych dokumentem, który określa ich działanie, jest norma PN-EN 54-3:2003 wraz z aktualizacją A2:2007. Dopuszczalna jest częstotliwość błysków świetlnych od 0,5 do 2 Hz, a czas rozbłysku nie może być dłuższy niż 0,2 sekundy. Jeżeli sygnalizator przeciwpożarowy ma zainstalowany człon akustyczny wraz z optycznym, musi koniecznie spełniać wymagania obu norm.
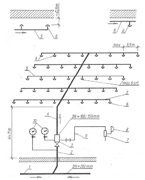
Instalacje tryskaczowe
Wybór sygnalizatorów do instalacji tryskaczowej przeciwpożarowej powinno się rozpatrywać w całościowym ujęciu. Należy wziąć pod uwagę nie tylko obiekt, w którym będzie instalacja zamontowana, ale także centralę alarmową, do której będzie podłączone urządzenie alarmujące. Musimy tutaj zaznaczyć, że niejednokrotnie zdarza się tak, że wybór centrali wyklucza zastosowanie danego rodzaju sygnalizatora. Najczęściej ma to miejsce w przypadku pętli adresowalnych. Parametrem, który wpływa na wybór urządzenia, jest także obciążalność prądowa wyjść zaciskowych oraz napięcie na nich generowane. W sytuacji, gdy sprzęt pobiera zbyt dużo energii elektrycznej, zachodzi ryzyko wystąpienia awarii i uszkodzeń centrali alarmowej. Należy wtedy zastosować specjalne zasilacze oraz przekaźniki, które zniwelują ryzyko usterek.
Instalacje tryskaczowe przeciwpożarowe są nieodłącznym elementem instalacji ppoż. Sam sygnalizator z pewnością wydatnie wpłynie na przebieg ewakuacji, ale w razie wystąpienia pożaru niezbędne jest także jego ugaszenie, albo maksymalne zminimalizowanie rozprzestrzeniania się ognia. W tym celu stosuje się sieci rurociągów i tryskaczy, które mogą opierać się na systemach wodnych, powietrznych lub mieszanych. Najczęściej projektuje się te ostatnie, które dodatkowo wyposażone są w zawór kontrolno-alarmowy wodno-powietrzny. Standardowa instalacja tryskaczowa ppoż. bazuje na rurociągach, które pracują pod ciśnieniem. Dla większej skuteczności rurociągi muszą pokrywać cały chroniony teren. Na rynku można znaleźć specjalne systemy orurowania, które składają się ze złączki, rur precyzyjnych i dedykowanych narzędzi. Należy także pamiętać, że wybierając rurociągi, szczególną uwagę zwraca się na izolację termiczną. Nie mogą być one podatne na wysokie temperatury, ponieważ w przypadku wystąpienia pożaru system nie będzie mógł optymalnie działać i spełniać swojej funkcji.

Projektowanie i konfiguracja systemów sygnalizacji pożarowej wymaga nie tylko znajomości przepisów prawnych i norm technicznych, ale również doświadczenia w praktycznym wdrażaniu rozwiązań. Nasza działalność polega na tworzeniu instalacji przeciwpożarowych, których celem jest zabezpieczenie przed rozprzestrzenieniem się ognia w obiektach o różnym przeznaczeniu. Systemy tego rodzaju należą do tzw. czynnych zabezpieczeń ppoż. wykrywających zagrożenie i reagujących na ogniska pożaru. Projekty takich systemów każdorazowo zawierają m.in.:
- charakterystykę obiektu,
- rodzaje oraz ilość urządzeń składających się na instalację,
- rozmierzenie elementów instalacji w budynku,
- zalecenia co do obsługi systemu.
Poza projektem, można również zlecić audyt stanu bezpieczeństwa ppoż., montaż, modernizację oraz serwis instalacji przeciwpożarowej. Dodatkowo oferujemy prefabrykację rurociągów instalacji ppoż.
tags: #system #przeciwpozarowy #projekt #dom